实用新型专利:一种地质灾害治理用防滑护栏
申请号: 202220371872.9
申请日: 2022.02.23
专利权人: 湖南省地质建设工程集团有限公司
地址: 410004 湖南省长沙市天心区五凌路8号
发明人: 谢亮 王灿 隆标 谢鸿
实用新型名称:一种地质灾害治理用防滑护栏
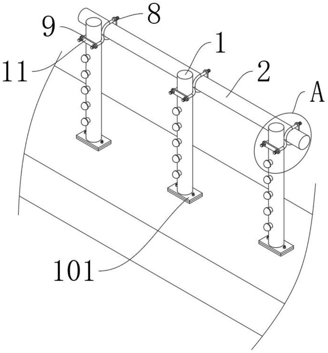
摘要:本实用新型公开一种地质灾害治理用防滑护栏,涉及地质灾害治理领域。包括竖杆、定位组件和固定组件,竖杆的顶部设置有横杆,竖杆的正面设置有防护网,竖杆的底端穿插连接有辅助板,定位组件设置于竖杆的底端,定位组件包括定位杆,定位杆的底端固定连接有预埋板,定位杆的顶部穿插连接有垫板,固定组件设置于垫板与辅助板的连接处,固定组件包括固定螺杆,固定螺杆的顶部螺纹穿插连接有固定螺母,该实用新型利用定位组件的设计,通过定位组件能够对竖杆进行定位安装,同时在垫板与辅助板的连接处设置有固定组件,通过固定组件能够使竖杆稳定地置于定位组件的外部,利用螺纹的连接,进而方便对竖杆安装或更换,操作简单。

扫一扫在手机上查看当前页面