实用新型专利:一种建筑物裂缝自动化监测装置
申请号: 202123197295.0
申请日: 2021 .12.20
专利权人: 湖南省勘测设计院有限公司
地址: 410000 湖南省长沙市天心区五凌路8号
发明人: 俞友 何锐利 王灿 徐陶
实用新型名称:一种建筑物裂缝自动化监测装置
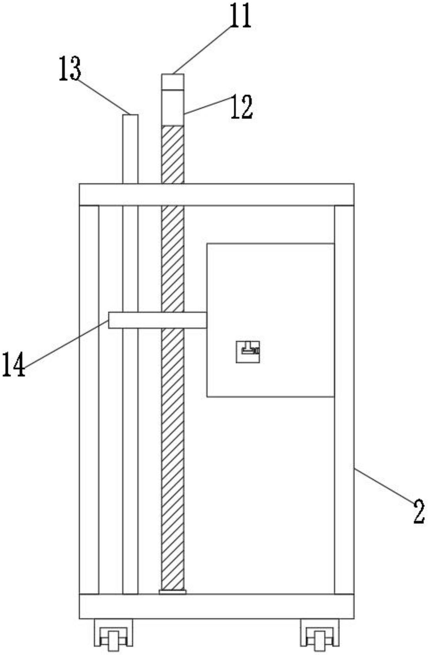
摘要:本实用新型涉及建筑物裂缝监测技术领域,且公开了一种建筑物裂缝自动化监测装置,包括超声波探测器,所述超声波探测器与固定杆连接,固定杆与位移传感器连接,固定杆与齿条连接,齿条与齿轮啮合,齿轮与转动杆连接,转动杆与电机连接,所述齿条与滑动杆连接,滑动杆贯穿齿条设置,滑动杆与电机箱连接,所述电机箱与电机连接,电机箱与齿条连接,齿条贯穿电机箱设置,所述电机箱与支撑板连接,支撑板与螺纹杆连接,通过设置移动座、推把、电机、转动杆、齿轮、齿条、滑动杆、固定杆、位移传感器、超声波探测器,达到了方便对建筑物的墙体裂缝进行检测,同时能够对裂缝的宽度进行测量,方便后序维护,方便简单易于操作的目的。

扫一扫在手机上查看当前页面