实用新型专利:一种三轴加速度自动化监测设备
申请号: 202123183076.7
申请日: 2021 .12.17
专利权人: 湖南省勘测设计院有限公司
地址: 410000 湖南省长沙市天心区五凌路8号
发明人: 莫剑 张波 钟林君 俞友
实用新型名称:一种三轴加速度自动化监测设备
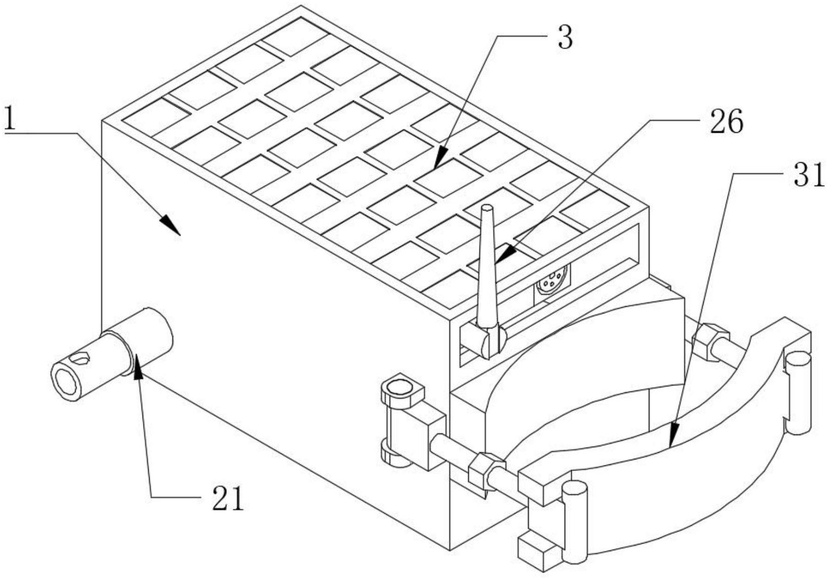
摘要:本实用新型涉及地质灾害监测技术领域,且公开了一种三轴加速度自动化监测设备,包括:箱体;盖板,固定于该箱体内侧;太阳能板,固定于该箱体上方,用于对监测设备进行充电;监测部,设置于该箱体内部;以及安装部,设置于该箱体外侧,用于对监测设备进行安装,通过本实用新型所提供的一种三轴加速度自动化监测设备,能够对地质灾害进行监测,且相对于普通的监测设备,本实用新型所提供的监测设备具备能够便于对监测设备进行安装,能够保证监测的稳定性等优点,解决现有技术中现有地质灾害位移监测设备所需设备、构配件及辅材种类及数量众多,现场设备组装、安装、调试工作技术性较强,需要多工种相互协调配合方可完成的问题。

扫一扫在手机上查看当前页面