发明专利:土压力监测站及地灾检测预警系统
申请号: 202110121824.4
申请日: 2021 .01 .28
同一申请的已公布的文献号申请公布号: CN 112924070 A
申请公布日: 2021 .06.08
专利权人: 湖南省城乡建设勘测院
地址: 410000 湖南省长沙市雨花区人民中路72号人民公馆楼2717房
发明人: 陈湘桂 韦拥霞 张良华 杨绍清 李力宏 文雄 何宗江 贺德军 刘志坚 张文云
发明名称:土压力监测站及地灾检测预警系统
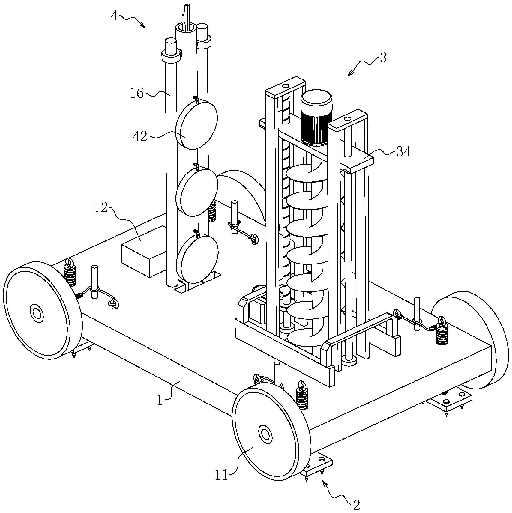
摘要:本申请涉及一种土压力监测站及地灾检测预警系统,其包括车体,所述车体的两侧均设有若干移动轮,所述车体上设有若干用于定位车体的定位件;所述车体上还设有用于在地基上打孔的钻孔组件和用于埋设在地基中的检测组件;所述车体上设有与所述检测组件电连接,且用于输出检测组件生成的检测数据的处理器。使用钻孔组件打出孔洞,而后将检测组件埋设到孔洞中,对土压力进行监测,并输出检测数据,由于钻孔组件和检测组件均位于车体上,因此当需要更换监测位置时,直接移动车体即可,方便快捷。本申请具有有助于缩短土压力监测站建设工期的效果。

扫一扫在手机上查看当前页面